官方的介绍如下:
hEX以同样的价格提供两倍的性能,无论用于你的家庭,还是小型办公室网络的解决方案,新一代hEX通过强大的升级确保稳定的连接:MikroTik已将hEX RAM从256 MB增加到512 MB,并将CPU替换为双核 ARM64位!新一代hEX仍然使用5个千兆以太网口,提供全尺寸的USB端口来扩展额外的存储空间,因此能提供高质量的流媒体传输性能(只得是DLNA之类的文件共享)!
CPU采用 Dual-Core EN7562CT 950 MHz,该CPU是联发科MTK子公司ECONET的EN7562CT,双核A53,频率950MHz,内存512MB,存储128MB,支持USB 2.0,5个千兆以太网口,1网口支持PoE供电。从fastpath的1518转发看,CPU性能是原来老款RB750Gr3的2.3倍,性能提升比例是老款RB750Gr3的134%!
参数:
| 产品代码 | E50UG |
| CPU | Dual-Core EN7562CT 950 MHz |
| CPU构架 | ARM 64bit |
| RAM | 512 MB DDR3 |
| ROM | 128 MB, NAND |
| 以太网口 | 5x1Gbps |
| USB | 1x USB Type A |
| 交换芯片 | EN7562CT |
| 尺寸 | 113 x 89 x 28 mm |
| 操作系统 | RouterOS v7, License level 4 |
| 工作温度 | -40°C to +70°C |
| DC输入 | 2 (PoE-In, DC jack) |
| PoE输入电压 | 12-28 V |
| DC插孔输入电压 | 12-28 V |
| 电源适配器电压 | 24 V |
| 电源适配器电流 | 0.38 A |
| 最大功率(无附件) | 4 W |
| 最大功率 | 10 W |
价格:59.95USD
对于hEX E50UG的提升主要是三大件,CPU,内存和存储,因为v7版本缘故,都升级到了128MB存储,比16MB强太多了!从官方提供的1518Bytes测试数据看CPU性能提升是明显的,但以太网接口没有任何升级还是5x1Gb接口,如果按照我之前把hEX作为交换机看和RB750Gr3没有任何变化都是千兆交换机。在2.5G网络流行的当前,也无法满足国内玩家的需求,然而对于行业用户或国外的需求是另外一回事了!因为不同的使用环境有不同的需求。MikroTik已经把MT7621和IPQ-4018/4019压榨了那麽多年,早就该更新了,MT7621和IPQ-4018/4019的刷机方案在闲鱼上到处都是!
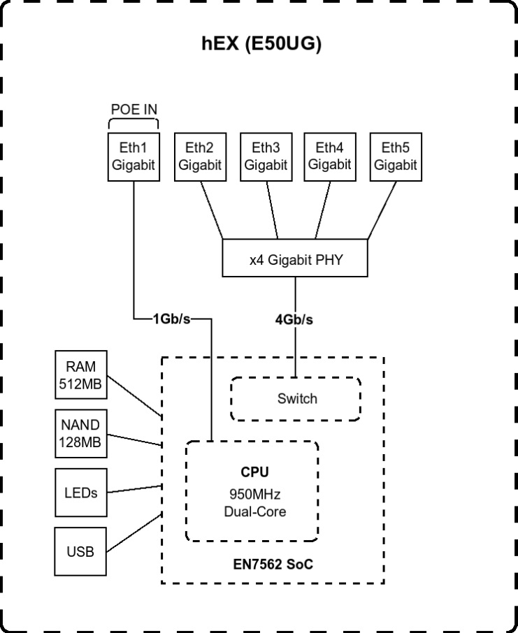
官方公布了构架图:
ether1口是独立连接到CPU,无法直接加入到switch,通过bridge加入ether1也只能软交换,只有ether2-ether5才能实现下发到芯片的硬交换,总线带宽是4Gb/s,实现线速转发
吞吐量数据:

与RB750Gr3的数据对比

感觉被MikroTik的宣传玩弄了,处理1518Mbps转发数据意外的放大,真正反映路由器性能的数据并没有那么突出!纯64Bytes和512Bytes数据转发的确不如4核心的MT7621,但加入规则后A53的CPU构架优势体现处理,在25条防火墙规则下,处理性能提升接近两倍,想打败hAP ac2的IPQ4018/4019是不可能了,个人感觉E50UG发布了一种寂寞!是不是继续用RB750Gr3? RB750Gr3还能实现5口千兆交换机。MikroTIk的RB5009仍然是RouterBOARD系列的天花板
在数据中,我加入了CRS304-4XG-IN 万兆电口交换机,虽然定位是一台交换机,但CPU性能完全能和hEX E50UG媲美!在512Byte转发配置25条防火墙规则,轻松超过E50UG,家庭或小办公室的路由器考虑内网万兆组网,外网接入千兆宽带,直接上1400元的CRS304-4XG-IN,支持L2/L3的硬件转发,内网交换和路由都可以不经过CPU处理!

